- Home
- WESTINGHOUSE
- Cooker Electric
- Upright
- PAK518W*40
PAK518W*40
WESTINGHOUSE — Cooker Electric
Parts for PAK518W*40
W0011297 BLADE FAN
W0011400 DISH GRILL ENAM SEP GRILL
$68.20
W0011830 HINGE DOOR GRILL
W0011909 HANDLE GRILL DISH
$9.90
W0012255 ELEMENT GRILL 2200W SS321
W0012312 CLIP KICK PANEL
W0012559 END CAP HANDLE WHT WH UC20
W0013611 TRIM OV/DOOR AIRWASH

W0013695 BUTTON CLOCK
$6.30

W0036933 KNOB WHT 7801
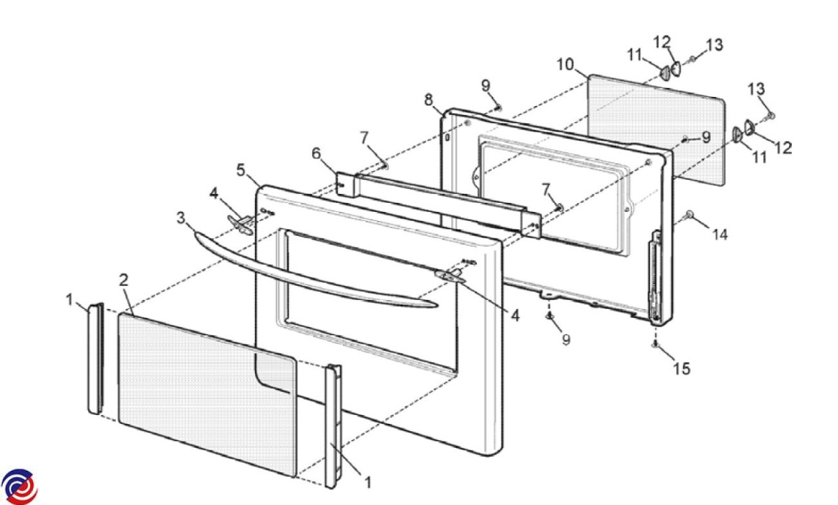
W0039452 DOOR OVEN INNER
W0046253 ELEMENT RAD SML 6MM 1250W ZIM
W0046254 ELEMENT RAD LGE 8MM 2050W ZIM
W0046406 CLIP MOUNTING ELEMENT
W0046876 SUPPORT HINGE DOOR LH
W0046877 SUPPORT HINGE DOOR RH

W0048045 END CAP PANEL CONTROL RH
$20.00

W0050006 GASKET CAVITY OVEN
W0050403 MOTOR FAN OVEN
W0052112 GLASS OUTER OV/DOOR A/W SCR

W0053461 RACK GRILL INSERT
W0053487 SHELF OVEN 473 X 378MM
W0057166 CHEF SIMPSON WESTINGHOUSE COOKTOP CONTROL SWITCH MP101
W0057210 SWITCH AUXILIARY T/STAT
W0057771 THERMOSTAT OVEN
W0058476 RING DRESS SML
W0058477 RING DRESS LARGE
W0062420 LIGHT INDICATOR INC LENS

W0100889 CLIP SPRING KNOB
$9.15
W0166032 LAMP 25W SES E14 300C CLEAR

W0365427 SWITCH AUXILIARY T/STAT
$24.60

W0011114 TERMINAL BLOCK W/EARTH BIOS

W0011313 COVER WIRING RADIANT
$43.20

W0011336 BRACKET INSULATION OVEN DOOR

W0011344 BRACKET STABILITY BOLT 540
$12.60

W0011407 TRAY SPILL

W0011666 COVER FAN & ELEMENT
$95.75

W0011672 PANEL KICK WHITE 540

W0011906 HANDLE DOOR WHT

W0011993 NUT METRIC M10 X 0.75MM
$4.50

W0012021 F/FRAME PAIN 540 ELEC R/C BIOS
$79.20

W0012315 CLIP THERMOSTAT BIOS
$9.00

W0012725 SEAL CLIP GLASS OV/DOOR

W0013260 SHIELD WIRING
$11.95

W0013730 BUMPER STOP BLK
$6.55

W0013731 BUMPER STOP GREY
$5.05

W0013751 LENS CLOCK 3 BUTTON

W0014018 SCREW #6 X 9.5MM PAN PHIL ZC
$4.50

W0014019 SCREW #6X3.5X28 HILO PAN PH
$4.50

W0014029 SCREW #8 X 1/2 MUSH PH#2 AB BK

W0014030 SCREW #8 X 8MM HEX/MULTI
$4.50

W0021285 LABEL DOOR GRILL
$4.50

W0035578 CLAMP GLASS DOOR

W0037440 PLATE REFLECTOR GRILL R/C

W0037466 PLATE ANTI TILT ASSY 540
$22.00

W0039451 DOOR GRILL INNER

W0039515 PANEL OUTER OV/DOOR ENAM A/W

W0039550 DOOR GRILL OUTER
$99.95

W0039791 PANEL SIDE UPRIGHT BIOS MK2

W0039885 PANEL TOP REAR

W0039903 PANEL CABINET REAR (NO HOLE)
$28.00

W0040506 PANEL FRONT PLAIN ENAM

W0040536 PNL CNT S/B SCR 518W BIOS

W0041113 PANEL LOWER BRACE 540

W0044064 NUT M6 LH FAN MOTOR ECM

W0044830 FLUE DUCT OVEN ELEC 540 BIOS

W0045532 BOLT STABILISING

W0046256 ELEMENT FAN 2200W S/S309

W0047180 SUPPORT GRILL ELEMENT

W0047469 SCREW M4 X 5 PAN #2 PH SML HD
$4.50

W0048044 END CAP PANEL CONTROL LH
$20.00

W0052067 GLASS INNER OV/DOOR A/W

W0053471 RACK SIDE GRILL LH/RH
$59.10

W0054084 SHIELD WIRING HOB 540 UR

W0054645 INSULATION OVEN CABINET

W0054646 INSULATION OVEN BACK BIOS

W0054962 PANEL OVEN LINING REAR

W0056177 GRILL BOX ENAM 540 BIOS

W0056274 BRACE OVEN REAR 540 BIOS

W0056768 LEG LEVELLING
$18.90

W0056770 FOOT LEVELLING UPRIGHT

W0059836 DUCT GRILL BOX 540 R/C BIOS

W0062060 HOB ENAMEL WHT

W0064367 SCREW 3/16 X 1 PAN PHIL NI

W0064447 SCREW #10 X 11.5 PAN PH 'Z' P

W0064527 SCREW NO 8 X 12 MM PD
$4.50

W0064747 NUT HEX 3/16 BSW
$4.50

W0064868 WASHER 3/16 X 3/8 ALUM

W0064939 WASHER 3/16 INT S/P ZC
$4.50

W0065404 SCREW M5 X 16MM SS

W0065427 SCREW M5 X 9MM CSK (BLK ZC)

W0105627 CLOCK 3 BTN EASYTIME W/RELA

W0114680 HOLDER LAMP ASSY BIOS